Lawn Mowers HR HR215 HR215K1 HMA MZAM-6200001-9999999 MULCHING KIT - SG Power Equipment

Ref No
Part Number
Description
Serial Range
Qty
Price

Ref No
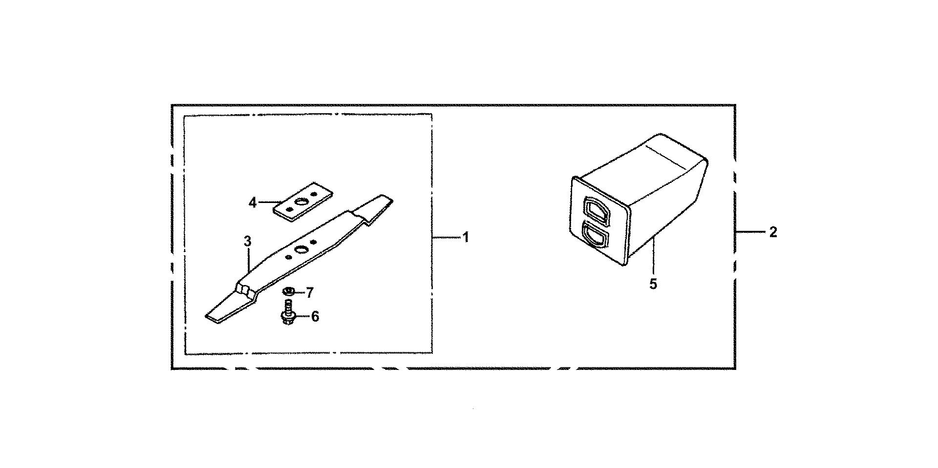
1
Part Number
06725-VA3-S00
Description
MULCHING KIT
Serial Range
1000001 - 9999999

Ref No
2
Part Number
06762-VA3-S00
Description
MULCHING KIT (NOT AVAILABLE)
Serial Range
1000001 - 9999999

Ref No
3
Part Number
72531-VA3-S00
Description
BLADE, ROTARY (UPPER)
Serial Range
1000001 - 9999999
Qty
Price
$20.12

Ref No
4
Part Number
72532-VA3-S00
Description
SPACER, BLADE
Serial Range
1000001 - 9999999
Qty
Price
$16.04

Ref No
5
Part Number
76266-VA3-J60
Description
PLUG, DISCHARGE (NA USE ALT:06762-VA3-S00)
Serial Range
1000001 - 9999999

Ref No
6
Part Number
90105-VA3-J01
Description
BOLT, HEX. (10X25)
Serial Range
1000001 - 9999999

Ref No
7
Part Number
90481-430-000
Description
WASHER, SPRING (10MM)
Serial Range
1000001 - 9999999
Qty
Price
$8.30