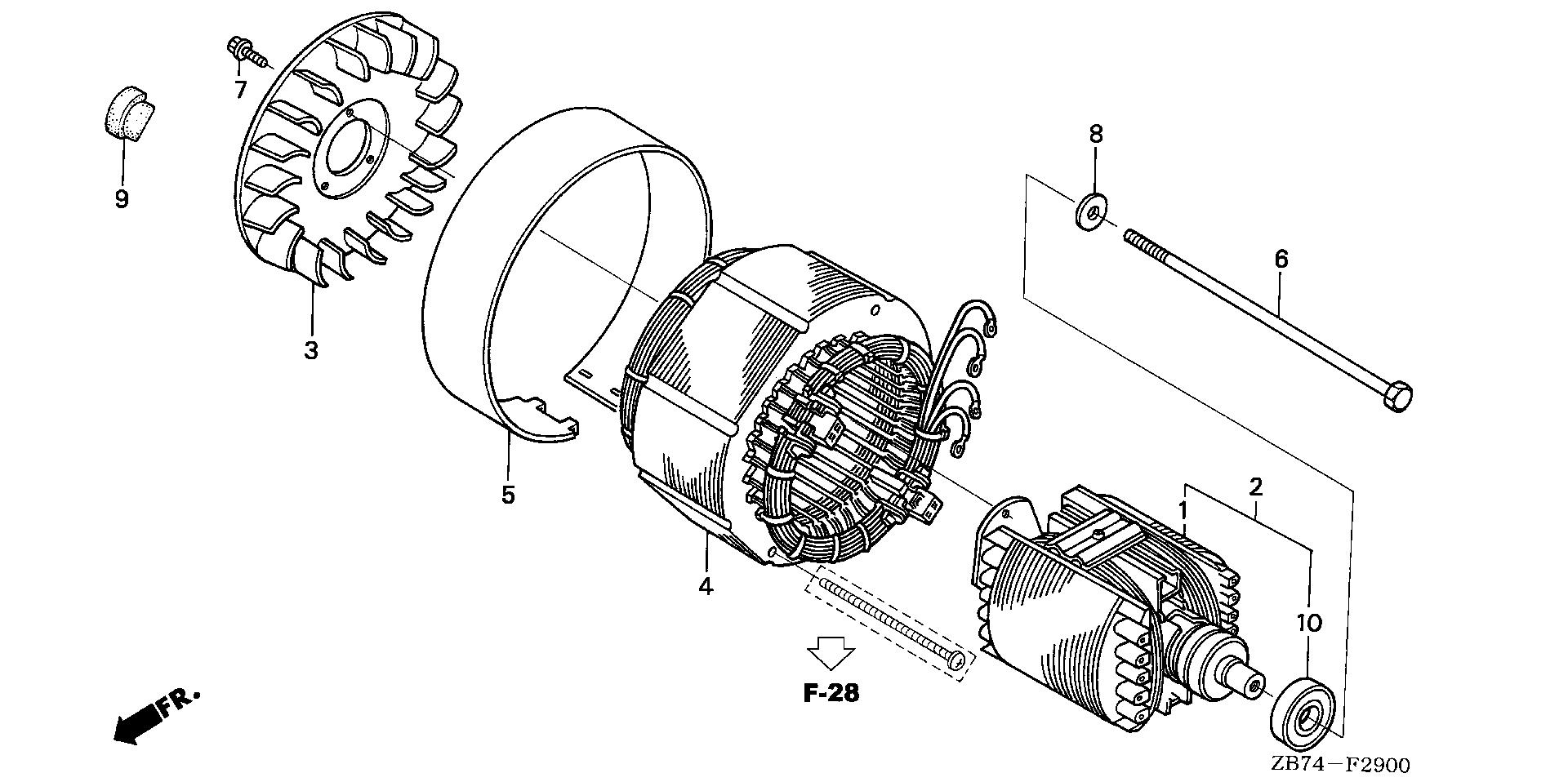
Generators EX EX3300 EX3300S A EB2-1000001-1099999 ROTOR@STATOR - SG Power Equipment

Ref No
Part Number
Description
Serial Range
Qty
Price

Ref No
1
Part Number
311A3-ZB4-003
Description
ROTOR
Serial Range
1000001 - 1002235

Ref No
2
Part Number
31130-ZB4-023
Description
ROTOR
Serial Range
1002236 - 9999999
Qty
Price
$835.78

Ref No
3
Part Number
31112-ZB4-003
Description
FAN, GENERATOR COOLING
Serial Range
1002236 - 9999999
Qty
Price
$111.80

Ref No
4
Part Number
31120-ZB4-631
Description
STATOR ASSY. (NOT AVAILABLE)
Serial Range
1000001 - 9999999

Ref No
5
Part Number
31127-ZB4-003
Description
COVER, STATOR (NOT AVAILABLE)
Serial Range
1000001 - 1003714

Ref No
5
Part Number
31127-ZB4-631
Description
COVER, STATOR
Serial Range
1003715 - 9999999
Qty
Price
$41.88

Ref No
6
Part Number
90021-ZB4-000
Description
BOLT, HEX. (10X210)
Serial Range
1000001 - 9999999
Qty
Price
$19.70

Ref No
7
Part Number
90032-875-003
Description
SCREW, TAPPING (5X14)
Serial Range
1000001 - 9999999
Qty
Price
$2.72

Ref No
8
Part Number
90504-ZA0-000
Description
WASHER (10.5MM)
Serial Range
1000001 - 9999999
Qty
Price
$5.54

Ref No
9
Part Number
90855-ZB4-000
Description
GROMMET, CRANKCASE
Serial Range
1000001 - 9999999
Qty
Price
$3.92

Ref No
10
Part Number
91051-ZB4-003
Description
BEARING ASSY. (6204)
Serial Range
1002236 - 9999999
Qty
Price
$31.98

Ref No
10
Part Number
96150-62040-10
Description
BEARING, RADIAL BALL (6204UU)
Serial Range
1000001 - 1002235
Qty
Price
$26.04