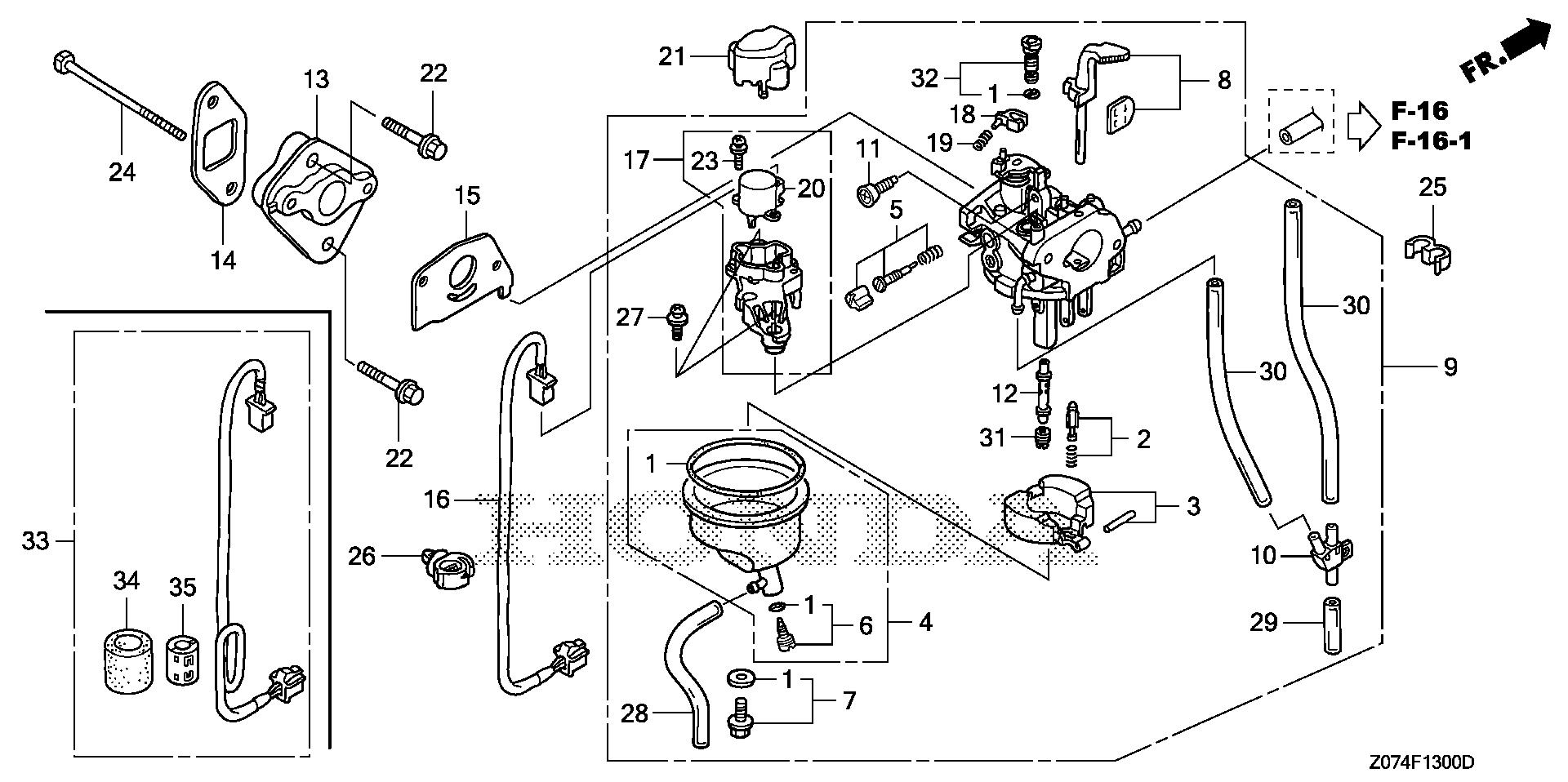
Generators EU EU2000 EU2000I AC EAAJ-1170001-9999999 CARBURETOR - SG Power Equipment

Ref No
Part Number
Description
Serial Range
Qty
Price

Ref No
1
Part Number
16010-ZM7-D01
Description
GASKET SET
Serial Range
1000001 - 9999999

Ref No
2
Part Number
16011-ZE0-005
Description
VALVE SET, FLOAT (SEAT NOT INCLUDED)
Serial Range
1000001 - 9999999
Qty
Price
$28.48

Ref No
3
Part Number
16013-ZG0-811
Description
FLOAT SET
Serial Range
1000001 - 9999999

Ref No
4
Part Number
16015-ZM7-003
Description
CHAMBER SET, FLOAT
Serial Range
1000001 - 9999999
Qty
Price
$60.12

Ref No
5
Part Number
16016-ZH7-W01
Description
SCREW SET, PILOT
Serial Range
1000001 - 9999999
Qty
Price
$20.40

Ref No
6
Part Number
16024-ZB9-005
Description
SCREW SET, DRAIN
Serial Range
1000001 - 9999999
Qty
Price
$9.66

Ref No
7
Part Number
16028-ZG0-811
Description
SCREW SET
Serial Range
1000001 - 9999999

Ref No
8
Part Number
16044-ZM7-D01
Description
CHOKE SET
Serial Range
1000001 - 9999999
Qty
Price
$37.70

Ref No
9
Part Number
16100-Z0D-D03
Description
CARBURETOR ASSY. (BF30E D/E)
Serial Range
1000001 - 9999999

Ref No
10
Part Number
16112-ZM7-D01
Description
JOINT, AIR VENT TUBE
Serial Range
1000001 - 9999999
Qty
Price
$10.98

Ref No
11
Part Number
16124-ZE0-005
Description
SCREW, THROTTLE STOP
Serial Range
1000001 - 9999999
Qty
Price
$17.88

Ref No
12
Part Number
16166-Z0D-D01
Description
NOZZLE, MAIN
Serial Range
1000001 - 9999999
Qty
Price
$23.80

Ref No
13
Part Number
16211-Z0D-D01
Description
INSULATOR, CARBURETOR
Serial Range
1000001 - 9999999
Qty
Price
$13.28

Ref No
14
Part Number
16212-Z0D-D00
Description
GASKET, INSULATOR
Serial Range
1000001 - 9999999
Qty
Price
$1.76

Ref No
15
Part Number
16221-ZG0-801
Description
GASKET, CARBURETOR
Serial Range
1000001 - 9999999

Ref No
16
Part Number
32196-Z07-C00
Description
SUB-WIRE ASSY.
Serial Range
1000001 - 9999999
Qty
Price
$44.58

Ref No
17
Part Number
36160-ZM7-D01
Description
MOTOR ASSY., THROTTLE CONTROL
Serial Range
1000001 - 9999999
Qty
Price
$109.40

Ref No
18
Part Number
36161-ZL0-D31
Description
LEVER, LINK
Serial Range
1000001 - 9999999
Qty
Price
$13.88

Ref No
19
Part Number
36162-ZL0-D31
Description
SPRING, COMPRESSION COIL
Serial Range
1000001 - 9999999
Qty
Price
$6.68

Ref No
20
Part Number
36165-ZL0-D31
Description
MOTOR, THROTTLE CONTROL
Serial Range
1000001 - 9999999
Qty
Price
$102.40

Ref No
21
Part Number
36168-ZT3-C01
Description
COVER, THROTTLE MOTOR
Serial Range
1000001 - 9999999
Qty
Price
$8.28

Ref No
22
Part Number
90004-GHB-670
Description
BOLT, FLANGE (6X25) (NSHF)
Serial Range
1000001 - 9999999

Ref No
23
Part Number
90003-ZL0-D30
Description
SCREW-WASHER (3X8)
Serial Range
1000001 - 9999999
Qty
Price
$2.30

Ref No
24
Part Number
90010-Z0D-D00
Description
BOLT, HEX. (5X95)
Serial Range
1000001 - 9999999
Qty
Price
$4.02

Ref No
25
Part Number
90601-Z0D-D00
Description
CLAMP, TUBE (7X8)
Serial Range
1000001 - 9999999
Qty
Price
$3.58

Ref No
26
Part Number
90683-SA0-003
Description
CLIP, WIRE HARNESS (25MM)
Serial Range
1000001 - 9999999
Qty
Price
$12.12

Ref No
27
Part Number
93893-04010-08
Description
SCREW-WASHER (4X10)
Serial Range
1000001 - 9999999
Qty
Price
$1.64

Ref No
28
Part Number
95003-05008-60M
Description
BULK HOSE, VINYL (3.5X6.5X8000) (3.5X6.5X240)
Serial Range
1000001 - 9999999
Qty
Price
$27.30

Ref No
29
Part Number
95003-07008-60M
Description
BULK HOSE, VINYL (4X7X8000) (4X7X30)
Serial Range
1000001 - 9999999
Qty
Price
$34.56

Ref No
29
Part Number
95003-07008-60M
Description
BULK HOSE, VINYL (4X7X8000) (4X7X230)
Serial Range
1000001 - 9999999
Qty
Price
$34.56

Ref No
30
Part Number
95003-07008-60M
Description
BULK HOSE, VINYL (4X7X8000) (4X7X30)
Serial Range
1000001 - 9999999
Qty
Price
$34.56

Ref No
30
Part Number
95003-07008-60M
Description
BULK HOSE, VINYL (4X7X8000) (4X7X230)
Serial Range
1000001 - 9999999
Qty
Price
$34.56

Ref No
31
Part Number
99101-ZG0-0580
Description
JET, MAIN (#58)
Serial Range
1000001 - 9999999
Qty
Price
$8.48

Ref No
31
Part Number
99101-ZG0-0600
Description
JET, MAIN (#60)
Serial Range
1000001 - 9999999
Qty
Price
$8.18

Ref No
31
Part Number
99101-ZG0-0620
Description
JET, MAIN (#62)
Serial Range
1000001 - 9999999
Qty
Price
$7.46

Ref No
32
Part Number
99204-ZE0-0350
Description
JET SET, PILOT (#35)
Serial Range
1000001 - 9999999
Qty
Price
$22.50