Description SHAFT, WHEEL (NA USE ALT:42730-899-800)
Serial Range 1000001 - 9999999
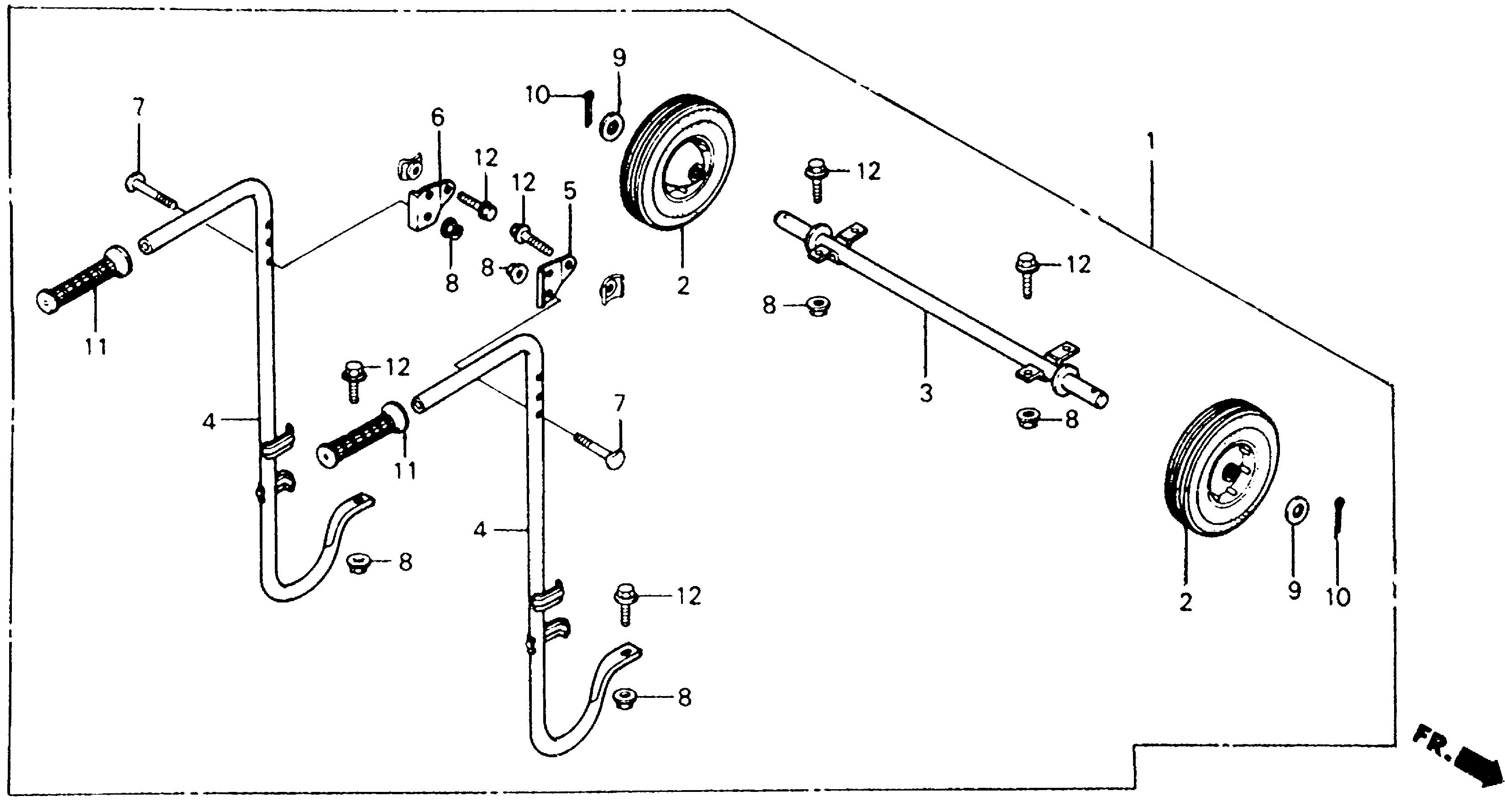
Ref No 4
Part Number 53110-899-800
Description HANDLE, CARRYING (NOT AVAILABLE)
Serial Range 1000001 - 9999999
Ref No 4
Part Number 53110-899-801
Description HANDLE, CARRYING (NA USE ALT:53110-899-800)
Serial Range 1000001 - 9999999
Ref No 5
Part Number 53112-899-800
Description HOLDER, R. HANDLE
Serial Range 1000001 - 9999999
Ref No 5
Part Number 53112-899-801
Description HOLDER, R. HANDLE (NOT AVAILABLE)
Serial Range 1000001 - 9999999
Ref No 6
Part Number 53113-899-801
Description HOLDER, L. HANDLE
Serial Range 1000001 - 9999999
Ref No 7
Part Number 90109-VB5-800
Description BOLT, HANDLE HOLDER (8X36)
Serial Range 1000001 - 9999999
Qty
Price $0.72
Ref No 8
Part Number 94050-08000
Description NUT, FLANGE (8MM)
Serial Range 1000001 - 9999999
Ref No 9
Part Number 94102-20000
Description WASHER, PLAIN (20MM)
Serial Range 1000001 - 9999999
Qty
Price $1.30
Ref No 10
Part Number 94201-40280
Description PIN, SPLIT (4.0X28)
Serial Range 1000001 - 9999999
Qty
Price $1.30
Ref No 10
Part Number 94201-40300
Description PIN, SPLIT (4.0X30)
Serial Range 1000001 - 9999999
Qty
Price $1.30
Ref No 11
Part Number 95011-14100
Description GRIP D, R. HANDLE
Serial Range 1000001 - 9999999
Qty
Price $11.40
Ref No 12
Part Number 95700-08016-00
Description BOLT, FLANGE (8X16)
Serial Range 1000001 - 9999999
Ref No 12
Part Number 95701-08016-00
Description BOLT, FLANGE (8X16)
Serial Range 1000001 - 9999999
Qty
Price $2.26
Item added to your cart
California Prop 65 Information
Internal Combustion Engine Products:
WARNING:
This product can expose you to chemicals including soots, tars, and mineral oils, which are known to the State of California to cause cancer,
and carbon monoxide, which is known to the State of California to cause birth defects or other reproductive harm. For more information go to
www.P65Warnings.ca.gov.
Miimo Robotic Mower
WARNING:
This product can expose you to chemicals including lead and lead compounds, which are known to the State of California to cause cancer and birth defects or other reproductive harm.
For more information go to
www.P65Warnings.ca.gov.